全国高校毕业生毕业去向登记系统(以下简称“登记平台”)的“毕业去向填报”模块支持单位发起邀请的线上签约等功能,我校现已开启网签功能,为方便毕业生更好地使用该模块功能,特制定本操作指南。
1、登录
毕业生进入登记平台(wq.ncss.cn),选择“毕业生去向登记”,使用学信网账号登录,如无账号请先注册。

图1

图2
2、核对基本信息
毕业生登录进入登记平台,首先要核对基本信息是否正确。 若信息无误,则点击“信息确认无误,进入系统”;若信息有误,请联系学校就业部门更正(其中手机号码、电子邮箱需由毕业生在本人学信网账号信息中修改)。确认无误后的信息将会显示在电子就业协议书中,请务必仔细核对,否则会影响后续签约。

图3
注意:毕业生无法登录进入登记平台的原因主要有:1.学校就业部门没有上传毕业生的基本信息或上传的基本信息有误;2.毕业生没有在学信网绑定学籍信息。请查找原因,及时处理。
3、选择功能模块
毕业生确认信息无误提交后,进入选择功能模块的引导页。 “毕业去向填报”用于登记毕业去向及签约信息,选择进入此模块,页面顶部可相互切换功能模块,右上角可查看个人信息,切换届别查看往届记录,下载操作指南。选择进入“签就业协议书就业”,毕业生在此界面可接收并回应用人单位发起的在线签约邀请,登记毕业去向信息,查看学校(院系)审核进度及结果等。毕业生应仔细阅读主界面的提示文字,根据自身实际情况选择正确方式进行签约或登记毕业去向。

图4

图5

图6
4、与用人单位线上签约
此功能适用于就业单位已经在登记平台注册,可以与用人单位在线签约的毕业生。
线上签约流程:用人单位通过登记平台向毕业生发起签约邀请,填写单位及签约相关信息,经毕业生同意、学校就业部门审核通过后,线上签约完成。

图7
注意:
(1)毕业生在应约有效期内对用人单位发起的签约邀请作出签约回应,若逾期未回应,则该签约邀请失效;
(2)毕业生签约与否不影响其他单位对其发起签约邀请;
(3)毕业生只能与一家用人单位签约,一旦同意签约后,其他单位的签约邀请只能查看,无法操作。
5、与用人单位线上解约
此功能适用于已经与就业单位完成线上签约,并与用人单位协商一致,双方同意解约的毕业生。
线上解约流程:毕业生或用人单位通过登记平台向对方发起解约申请,经另一方(用人单位或毕业生)同意、学校就业部门审核通过后,线上解约完成。

图8
注意:另一方对解约申请作出回应没有时间限制,为避免出现用人单位长时间不回应毕业生的解约申请,解约前毕业生应与用人单位达成一致。
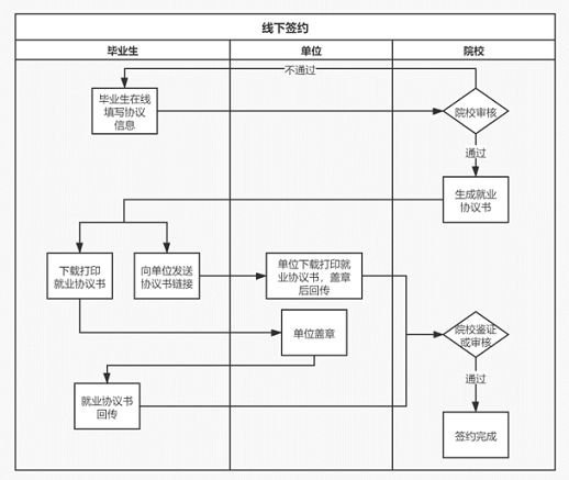
6、申请电子就业协议线下签约
此功能适用于就业单位没有在登记平台注册,无法与用人单位在线签约的毕业生。
线下签约流程:毕业生通过登记平台(“向学校申请电子协议书-线下登记”功能)在线填写就业协议信息,经学校就业部门审核通过后,生成电子就业协议书。毕业生或用人单位下载打印电子就业协议书,用人单位盖章后,由毕业生或用人单位回传电子就业协议书图像,经学校就业部门签约审核通过后,线下签约完成。

图9
注意:
(1)毕业生在线填写就业协议信息或者本人回传单位盖章的协议书时,如提交后发现信息有误,在学校就业部门审核之前,可点击“撤回修改”。
(2)若学校就业部门审核结果为“退回修改”,需根据原因修改就业协议信息或重新回传电子就业协议书图像后重新提交审核;若结果为“审核不通过”,则直接作废,毕业生需按照原因重新填写就业协议信息或重新回传电子就业协议书图像后,再次提交学校(院系)审核。
7、申请线下解约
此功能适用于已经完成申请电子就业协议线下签约或已签纸质就业协议登记信息,并与用人单位协商一致签订解约材料的毕业生。
线下解约流程:毕业生通过登记平台向学校就业部门发起解约申请,上传解约材料,学校就业部门与用人单位核实无误、审核通过后,线下解约完成。

图10
注意:毕业生提交解约申请后,若学校就业部门审核结果为“退回修改”,毕业生可根据退回原因修改后重新提交审核,若结果为“审核不通过”,则解约失败,需根据审核不通过原因重新发起解约申请。
8、已签纸质就业协议登记信息
此功能适用于已经与就业单位签订了纸质就业协议书,需登记就业信息的毕业生。
已签纸质就业协议登记信息流程:毕业生通过登记平台(“已签纸质就业协议-补充登记”功能)登记已经与用人单位签订的纸质就业协议书上的就业信息,上传盖章的纸质就业协议书图像材料,经学校就业部门审核通过后,完成已签纸质就业协议登记信息。
注意:
(1)如在学校就业部门审核之前发现信息有误,可点击“撤回修改”。
(2)毕业生提交登记就业信息后,若学校就业部门审核结果为“退回修改”,毕业生可根据退回原因修改后重新提交审核,若结果为“审核不通过”,则登记信息直接作废,需重新登记就业信息,上传盖章的纸质就业协议书图像再次提交审核。
学生就业创业指导中心
2023年1月8日